CW 3/CW 5 (CWB 3)

59687360 (12/22)

59687360 (12/22)
Antes de poner en marcha por primera vez el equipo, lea este manual de instrucciones y el capítulo Instrucciones de seguridad. Actúe conforme a estos documentos.
Conserve estos documentos para su uso posterior o para propietarios ulteriores.
Los materiales de embalaje son reciclables. Eliminar los embalajes de forma respetuosa con el medioambiente.
Los equipos eléctricos y electrónicos contienen materiales reciclables y, a menudo, componentes, como baterías, acumuladores o aceite, que suponen un peligro potencial para la salud de las personas o el medio ambiente en caso de manipularse o eliminarse de forma inadecuada. Sin embargo, dichos componentes son necesarios para un funcionamiento adecuado del equipo. Los equipos identificados con este símbolo no pueden eliminarse con la basura doméstica.
Encontrará información actualizada sobre las sustancias contenidas en: www.kaercher.de/REACH
El manejo erróneo y el uso indebido suponen un peligro para el operario y otras personas debido a:
presión del agua elevada,
tensión eléctrica alta,
aire comprimido,
detergente.
Para no poner en peligro a personas, animales u objetos, es imprescindible leer antes de utilizar la instalación:
el manual de instrucciones, incluidas todas las instrucciones de seguridad;
las normativas nacionales del legislador aplicables;
las instrucciones de seguridad que se suministran junto con los detergentes utilizados.
Asegúrese de:
haber entendido todas las instrucciones;
que todos los usuarios de la instalación hayan sido informados acerca de las instrucciones y que las hayan entendido.
Todas las personas que participen en el montaje, la puesta en funcionamiento y el manejo deben:
contar con la cualificación correspondiente;
conocer y respetar el manual de instrucciones;
conocer y respetar las normativas pertinentes.
En el modo de autoservicio, asegúrese de que todos los usuarios sean informados mediante rótulos de aviso visibles acerca de:
posibles peligros,
dispositivos de seguridad,
el manejo de la instalación.
El operador de la instalación de lavado deberá transformar el manual de instrucciones en unas instrucciones de uso respetando las condiciones locales y de personal. Las instrucciones de uso deben divulgarse convenientemente poniéndolas o colgándolas en el puesto de trabajo.
Aviso de un peligro inminente que produce lesiones corporales graves o la muerte.
Aviso de una posible situación peligrosa que puede producir lesiones corporales graves o la muerte.
Aviso de una posible situación peligrosa que puede producir lesiones corporales leves.
Aviso de una posible situación peligrosa que puede producir daños materiales.
Para el manejo de esta instalación, en la República Federal de Alemania se aplican las siguientes normativas y directivas (pueden obtenerse a través de Carl Heymanns Verlag KG, Luxemburger Straße 449, 50939 Colonia, Alemania):
Normativa para la prevención de accidentes «Normativas generales» BGV A1
Seguridad en instalaciones de lavado de vehículos EN 17281
Reglamento sobre la seguridad labora (BetrSichV)
El accionamiento, la supervisión, la conservación, el mantenimiento y la comprobación de las instalaciones de lavado de vehículos debe encargarse únicamente a personal que esté familiarizado con dichos trabajos y con el manual de instrucciones y que cuente con formación acerca de los peligros asociados.
Contaminación del medioambiente por vehículos
Salida de aceites.
Proteja el terreno y deseche todo el aceite usado de manera respetuosa con el medioambiente.
No permita que los aceites de engranajes y las aguas residuales con aceites minerales lleguen a la tierra ni al agua.
Prepare el agua residual antes de verterla a la canalización.
Observe los estatutos sobre aguas residuales y las normativas legales locales vigentes.
En las instalaciones de lavado con autoservicio, mientras se ofrezca el servicio debe haber una persona disponible que esté familiarizada con la instalación de lavado y que en caso de fallo pueda tomar o disponer las medidas necesarias para evitar posibles riesgos.
En la estación de lavado, deben colocarse avisos claramente visibles para el usuario sobre el manejo y el uso previsto de la instalación de lavado.
Los trabajos de mantenimiento y reparación solo pueden efectuarse con la instalación de lavado desconectada.
Peligro de lesiones por movimientos de la máquina
Antes de realizar los trabajos de mantenimiento y reparación, apague la instalación.
Asegure el interruptor principal para que no pueda volver a conectarse, p. ej., con un candado.
Peligro debido a sustancias perjudiciales para la salud en el detergente
Tenga en cuenta las hojas de datos de seguridad del detergente.
Tome las medidas de protección indicadas.
Utilice el vestuario de protección indicado, como gafas y guantes de protección.
Mayor riesgo de corrosión al utilizar detergentes inadecuados
No use los siguientes detergentes en la instalación:
Detergentes diseñados para la limpieza de la nave de lavado.
Detergentes diseñados para la limpieza exterior de la instalación de lavado.
Detergentes ácidos.
Detergentes que se aplican en el vehículo con un equipo aparte (p. ej., limpiador de llantas).
Medios para el tratamiento de aguas residuales.
Peligro por acceso al pórtico de lavado
Prohíba el acceso al pórtico de lavado a personas no autorizadas.
Indique la prohibición de acceso de forma clara y permanente.
Peligro de resbalones por humedad
Utilice calzado adecuado para acceder a la instalación y muévase con cuidado.
Avise a los clientes sobre el peligro de resbalarse con señales adecuadas y permanentes.
Peligros por manejo incorrecto
Los encargados de manejar la instalación deberán:
estar formados en la manipulación de la instalación,
haber demostrado sus habilidades para el manejo
y haber recibido un encargo explícito del uso.
Todos los operarios deben tener acceso al manual de instrucciones.
El manejo de la instalación queda prohibido a personas menores de 18 años, excepto aprendices mayores de 16 años bajo supervisión.
Peligro de tropiezos por objetos y conductos de alimentación por el suelo
Antes de poner la instalación en funcionamiento, retire los objetos tendidos en la estación de lavado.
Peligro de daños y lesiones por formación de hielo en la instalación
En caso de peligro de congelación, purgue el agua de la instalación.
Mantenga las vías de circulación seguras de resbalones para todas las personas (p. ej., con calefacción por suelo radiante o gravilla).
La instalación se pone en funcionamiento en el panel de control o con un lector de tarjetas de lavado/códigos.
Antes del lavado, los ocupantes deben salir del vehículo.
Durante el proceso de lavado se prohíbe el acceso a la instalación.
Peligro de lesiones por escape de aire comprimido, agua a alta presión en la salida de la boquilla y partículas de suciedad o similares que salen despedidas en la zona de los cepillos giratorios
Las partículas de suciedad y los objetos que se sueltan pueden lesionar a personas y animales.
El aire comprimido y el agua a alta presión pueden seguir presurizados aunque la instalación esté desconectada.
Mantenga el suelo de la nave libre de objetos sueltos tirados.
Maneje la instalación de aire comprimido o el sistema de alta presión con cuidado.
Use gafas de protección para realizar las tareas de mantenimiento.
Peligro de explosión
No utilice la instalación cerca de espacios con peligro de explosión, salvo instalaciones previstas y marcadas explícitamente para ello.
No utilice ninguna sustancia tóxica o explosiva como detergente, como por ejemplo:
Gasolina
Gasóleo o carburante diésel
Disolventes
Líquidos con disolventes
Ácidos
Acetona
En caso de duda, consulte al fabricante.
Los ruidos que emite la instalación no conllevan riesgos para los clientes debido a la breve exposición.
En la entrada, el nivel sonoro en modo secador es de 91 dB(A).
Lesiones auditivas para los operarios en modo secador
Daños auditivos debido a un volumen excesivo en la sala de máquinas
Utilice protección para los oídos durante el modo secador.
Use la protección auditiva adecuada cuando permanezca en la sala de máquinas.
Peligro por descarga eléctrica
Nunca toque los componentes eléctricos ni los cables con las manos mojadas.
Asegúrese de que los cables eléctricos de conexión o el cable de prolongación no puedan sufrir daños por ser pisados, aplastados, arrastrados o acciones similares.
Proteja los cables del calor, el aceite y los cantos afilados.
Nunca dirija un chorro de agua a instalaciones o equipos eléctricos.
Proteja de los chorros de agua todas las piezas de la zona de trabajo que conducen corriente.
Solo conecte la instalación a fuentes de corriente con una correcta toma a tierra.
Los trabajos en piezas eléctricas de la instalación solo debe realizarlos un electricista.
Peligro debido a sustancias nocivas para la salud
Es imprescindible que preste atención a las instrucciones adjuntas e impresas sobre los detergentes.
Nunca beba el agua que suministra la instalación. Esta agua no tiene calidad de agua potable debido a los detergentes que se le añaden.
Observe las normativas sobre inhibición de la germinación del fabricante del sistema de tratamiento si utiliza agua tratada para operar la instalación.
Asegúrese de que sustancias como las que se generan durante la limpieza exterior general de vehículos (como metales pesados, pesticidas, sustancias radiactivas, heces o sustancias antiepidemias) no entren a la instalación de lavado.
Las medidas constructivas evitan arranques no controlados de la instalación después de un fallo de corriente.
Tenga en cuenta las normativas locales en materia de evacuación de aguas residuales.
Para garantizar que la instalación funciona de forma segura y evitar peligros durante el mantenimiento, la supervisión y la comprobación, es necesario seguir las instrucciones correspondientes.
Una persona experta debe realizar las tareas de mantenimiento y reparación a intervalos regulares conforme a las indicaciones del fabricante. Asimismo, respete las normativas y los requerimientos de seguridad existentes. Los trabajos en la instalación eléctrica solo debe realizarlos un electricista.
Peligro de lesiones por movimientos de la máquina
Antes de realizar los trabajos de mantenimiento y reparación, apague la instalación.
Asegure el interruptor principal para que no pueda volver a conectarse, p. ej., con un candado.
Peligro de lesiones por depósitos y conductos de aire comprimido sometidos a presión después de apagar la instalación
Reduzca la presión antes de cualquier trabajo en la instalación.
Compruebe la ausencia de presión en el manómetro de la unidad de mantenimiento.
Peligro de lesiones por sistema de alta presión sometido a presión después de apagar la instalación
Despresurice el sistema de alta presión antes de cualquier trabajo en la instalación.
Una persona experta deberá comprobar que esta instalación de lavado es segura antes de la primera puesta en funcionamiento y posteriormente al menos cada seis meses.
Dicha comprobación incluye principalmente:
Inspección visual respecto a desgaste o daños reconocibles en la parte exterior
Comprobación de funcionamiento
En instalaciones autoservicio, compruebe la integridad y eficacia de los dispositivos de seguridad diariamente antes de iniciar el funcionamiento; en instalaciones supervisadas, cuando sea necesario, pero al menos una vez al mes.
Utilice únicamente componentes originales del fabricante o piezas recomendadas por el mismo. De lo contrario, los derechos a garantía quedarán anulados.
Respete todas las instrucciones de seguridad y la información para el usuario que acompañan a estas piezas.
Se aplica a:
Recambios y piezas de desgaste
Accesorios
Combustibles
Detergente
Las bombas de alta presión para el suministro del dispositivo de lavado debajo de la carrocería y el lavado de alta presión cuentan con los siguientes dispositivos de seguridad.
La válvula de seguridad se abre al superar la sobrepresión de servicio máxima admisible, y el agua fluye hacia fuera sin presión.
Esta instalación de lavado está diseñada exclusivamente para la limpieza exterior de automóviles con equipamiento de serie y furgonetas cerradas.
En el uso previsto se incluye:
Respetar todas las indicaciones de este manual de instrucciones.
Seguir las indicaciones de inspección y mantenimiento.
Peligro de daños en los vehículos al utilizar cepillos CareTouch
Si va a utilizar cepillos CareTouch, equipe la instalación con un juego de montaje de alta presión o limpie previamente los vehículos.
Para evitar daños en los vehículos y en la instalación de lavado, solo se pueden limpiar automóviles y furgonetas cerradas que se adapten a las dimensiones límite especificadas; véase el capítulo Datos técnicos.
Para proteger la red de agua potable, y de conformidad con la norma EN 1717, debe existir una separación de red según la categoría 5 entre la instalación y la red de agua potable.
La instalación debe ser montada por personal técnico cualificado. Durante el montaje, deben tenerse en cuenta las disposiciones de seguridad locales vigentes (p. ej., distancias entre la instalación y el edificio).
No se permite ningún uso no previsto.
Los operarios son responsables de los peligros asociados con un uso no permitido. Queda prohibida su utilización para otros fines diferentes de los descritos en esta documentación.
Daños materiales en los vehículos y en la instalación por incumplimiento de las dimensiones límite de los vehículos
Tenga en cuenta las dimensiones límite de los vehículos; véase el capítulo Datos técnicos.
El pórtico de lavado no es apto para limpiar:
Vehículos especiales, como vehículos con superestructuras de techo y alcoba situadas hacia delante sobre el parabrisas o hacia atrás sobre la luna trasera
Maquinaria de construcción
Vehículos con remolque
Vehículos de dos y tres ruedas
Vehículos con neumáticos dobles/neumáticos gemelos
Vehículos «pick-up» (disponibles de forma opcional)
Descapotables con capota abierta
Descapotables con capota cerrada sin certificado del fabricante sobre la idoneidad de las instalaciones de lavado
De no seguirse estas instrucciones, el fabricante de la instalación no se hace responsable de los consecuentes
daños personales,
daños materiales,
lesiones a animales.
Mayor riesgo de corrosión al utilizar detergentes inadecuados
Los siguientes detergentes no deben procesarse en la instalación:
Detergentes diseñados para la limpieza de la nave de lavado.
Detergentes diseñados para la limpieza exterior de la instalación de lavado.
Detergentes ácidos.
Detergentes que se aplican en el vehículo con un equipo aparte (p. ej., limpiador de llantas).
Medios para el tratamiento de aguas residuales.
Utilice únicamente accesorios y recambios originales, estos garantizan un servicio seguro y fiable del equipo.
Encontrará información sobre los accesorios y recambios en www.kaercher.com.


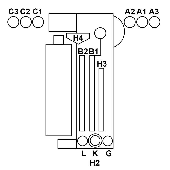
Los cepillos laterales giratorios limpian el vehículo por los laterales, por la parte frontal y por la parte trasera.
El cepillo para techos giratorio quita la suciedad de la parte superior del vehículo.
Para una limpieza a fondo de las llantas, la instalación de lavado está equipada con dos dispositivos de lavado de ruedas. La posición de las ruedas se detecta mediante una barrera de luz.
Los cepillos giratorios se presionan contra las llantas por medio de cilindros neumáticos.
El riego de los cepillos tiene lugar a través de una boquilla dispuesta en el centro.
De forma opcional, hay disponible un dispositivo de lavado de ruedas con altura ajustable.
Con las boquillas y arcos de pulverización se pulveriza el vehículo con agua tratada y agua fresca.
En función del programa de lavado, el agua se mezcla con detergentes y productos de conservación.

A1 = agua fresca, agente secador químico (ASQ), cera
A2 = agua tratada, champú
A3 = pulido (opcional, en lugar de C3)
B1 = agua tratada, champú
B2 = espuma, insectos, Intensiv Basic
C1 = agua tratada, champú
C2 = agua fresca, ASQ, cera
C3 = pulido
G = pulverización previa de las llantas
L = limpiador de alquitrán
K = brillo de neumáticos
H 2 = alta presión del lavado de las ruedas
H 3 = boquillas de alta presión laterales
H 4 = boquillas de alta presión del techo
Se aplica el detergente para la limpieza para prolongar el tiempo de actuación en forma de espuma.
Los dispositivos atrapadores de suciedad retienen partículas que pueden obstruir las boquillas.
Las bombas de dosificación mezclan el agua con los detergentes y productos de conservación.
De las boquillas del secador sale el aire necesario para secar los laterales del vehículo.
Las barras de ventilación del secador recorren el contorno del vehículo. Los ventiladores integrados generan el flujo de aire necesario para secar el vehículo.
El semáforo de posicionamiento tiene las siguientes funciones:
Antes del lavado, ayuda para posicionar el vehículo.
Después del lavado, indica la dirección de salida.
Indicación de fallos.
Con las barreras de luz se detecta lo siguiente:
La posición y los contornos del vehículo.
La posición de las ruedas del vehículo.
Los bidones de detergentes y productos de conservación y las bombas de dosificación se encuentran en la columna 2.
En la columna 2 pueden guardarse como máximo 8 bidones.
Si se necesitan más bidones, pueden suministrarse opcionalmente de la sala de maquinaria.
Las mangueras de aspiración, los bidones y las bombas de dosificación correspondientes están marcadas con los mismos colores Marcado de las bombas de dosificación.
Nombre | Denominación | Consumo | N.º de referencia |
|---|---|---|---|
RM 896 | Vehicle Pro Klear! RIM* | 15-25 ml | 6.296-077.0 |
RM 890 | Vehicle Pro Klear! Prewash* | 10-14ml | 6.296-003.0 |
RM 891 | Vehicle Pro Klear! Brush* | 7-10ml | 6.295-995.0 |
RM 892 | Vehicle Pro Klear! Foam* | 8-10ml | 6.295-998.0 |
RM 893 | Vehicle Pro Klear! Dry* | 8-12ml | 6.296-001.0 |
RM 894 | Vehicle Pro Klear! Glow* | 10-15ml | 6.295-993.0 |
RM 837 | Vehicle Pro Klear! Plus** | 15 ml | 6.295-779.0 |
* Tamaño del contenedor 10 litros
** Tamaño del contenedor 20 litros
En la placa de características se encuentran los datos más importantes de la instalación.
El armario de control de la instalación se encuentra en el distribuidor de alimentación.
En el distribuidor de alimentación está emplazado el interruptor principal de la instalación.
El distribuidor de alimentación se encuentra fuera de la instalación de lavado, en la sala de maquinaria o en otro lugar apropiado cerca de la instalación de lavado.

0 = desconexión de la instalación
1 = manejo mediante lector de tarjetas de lavado
2 = manejo mediante lector de tarjetas de lavado y panel de control (pantalla)
En caso de peligro para personas, animales u objetos, debe desconectarse de inmediato la instalación pulsando la tecla «PARADA DE EMERGENCIA».
La tecla «PARADA DE EMERGENCIA» se encuentra:
En el lector de tarjetas de lavado/códigos.
En el panel de control.
Opcionalmente, en la entrada a la nave de lavado, si el panel de control o el lector de tarjetas de lavado/código no se encuentran allí.
La instalación de lavado se suministra con:
Un panel de control con pantalla
Un lector de tarjetas de lavado/códigos (opcional)
Una protección mecánica mantiene la instalación sobre las vías incluso aunque los clientes incurran en comportamientos incorrectos.
Para manejar la instalación de lavado con autoservicio se utiliza un lector de tarjetas de lavado o un lector de códigos.
Las tarjetas de lavado o los códigos necesarios para el manejo están programados en la respectiva instalación.
La conexión de agua tratada permite utilizar agua de lluvia o agua reciclada como reemplazo parcial del agua fresca.
En lugar de un cepillo circular, el dispositivo planetario de lavado de ruedas está equipado con 3 cepillos.
Asimismo, los dispositivos de lavado de ruedas pueden equiparse con un ajuste de altura.
Los chorros de agua de 2 boquillas adicionales por dispositivo de lavado de ruedas limpian los huecos de las ruedas y los faldones del vehículo.
Con el dispositivo de lavado de bajos puede lavarse la parte inferior del vehículo. Para ello, se pulveriza agua a alta presión por toda la parte inferior a través de dos tuberías de boquilla giratorias.
Con las boquillas de pulverización previa, se aplica espuma en la mitad delantera del vehículo. La espuma se produce con agua, el producto de pulverización previa y aire comprimido.
Con las boquillas fijas se aplica el producto químico para la limpieza previa del vehículo.
La espuma se produce con agua, el producto de pulverización previa y aire comprimido.
Con 2 boquillas fijas para espuma se pulveriza sobre las llantas una mezcla de agua y detergente que se convierte en espuma con aire comprimido.
Con el lavado con alta presión, se elimina la suciedad gruesa de la superficie del vehículo. Al minimizar el riesgo de arañazos por granos de arena o similares, el lavado con alta presión contribuye significativamente a la limpieza cuidadosa de la pintura.
Puede elegirse entre distintas ejecuciones:
Presión de trabajo de 16 bar (1,6 MPa)
Presión de trabajo de 60 bar (6 MPa)
Presión de trabajo de 70 bar (7 MPa), bomba de alta presión a bordo (en el pórtico)
Con las boquillas para el agente secador se aplica cera espumosa en el vehículo antes del proceso de secado.
Con las boquillas de cera fría se pulveriza agua mezclada con cera sobre el vehículo. Puede elegirse entre 2 ceras frías distintas (cera 1 y cera 2).
La calefacción para el detergente se encuentra en la alimentación de detergente, en la columna 2.
La instalación de lavado puede equiparse con un dispositivo anticongelante:
Si existe peligro de congelación, el agua se sopla automáticamente del sistema de tuberías.
El proceso de soplado se controla mediante un termostato.
Con las boquillas para el agente secador se aplica en el vehículo agua desmineralizada (procedente de una instalación de ósmosis inversa opcional o del cliente) o agua fresca con agente secador dosificado.
Con 2 boquillas fijas para espuma se pulveriza sobre el vehículo una mezcla de agua y detergente que se convierte en espuma con aire comprimido. A continuación, tiene lugar el proceso de pulido con los cepillos de lavado.
Los interruptores de seguridad son necesarios cuando no es posible respetar las distancias de seguridad requeridas entre la instalación de lavado y los componentes instalados de forma fija (p. ej., paredes, columnas, lavabos). Los interruptores de seguridad impide el aplastamiento de personas entre la instalación y la pared.
Si algún interruptor de seguridad toca un obstáculo, la instalación de lavado se detiene de inmediato.
Si la instalación se detiene debido a un interruptor de seguridad, compruebe la causa y permita que el personal técnico autorizado la restablezca.
Con la protección contra salpicaduras, las superficies contiguas a la estación de lavado se protegen de la suciedad y el agua que salpican los cepillos laterales giratorios.
La protección contra salpicaduras está fijada en las superficies exteriores del chasis y de las columnas.
Los desviadores sirven para garantizar una alineación centrada del vehículo. Impiden que el vehículo quede colocado demasiado lejos del centro.
La función de restablecimiento permite desplazar el portal de lavado a la posición inicial de forma remota con una instrucción a través de una interfaz. La función puede activarse mediante un parámetro independiente en el control de la instalación.
En general, esta función solo puede activarse en los países o en los lugares donde está permitida.
La videovigilancia debe instalarse en el lugar, cubriendo toda la zona de la nave de lavado o el camino de entrada completo de la instalación, y debe aplicarse la normativa si es aplicable en el país/municipio donde se instala la instalación.
La persona que realiza el restablecimiento a distancia debe asegurarse primero, a través de la videovigilancia, de que no hay personas en el camino de entrada de la instalación. Si la instrucción la solicita una persona, esta debe demostrar que la instalación y su camino de entrada están completamente libres confirmando una indicación de seguridad (por ejemplo, una ventana emergente).
La persona que integra la instalación en su sistema, por ejemplo, a través de Internet, es responsable de la seguridad o ciberseguridad necesaria y se debe realizar una evaluación de riesgos de la instalación.
El control de puertas de la instalación del cliente está controlado por el control del pórtico de automóviles con las señales correctas para el proceso de lavado.
Se distingue entre control de puertas de verano y control de puertas de invierno.
Antes de iniciar el lavado las puertas están abiertas.
El vehículo puede entrar.
Al comenzar el lavado, las puertas se cierran.
Después de finalizar el lavado, las puertas se abren y permanecen abiertas.
Antes de comenzar el lavado, la puerta de entrada está cerra y debe abrirse para que entre el vehículo. Esto sucede, por ejemplo, insertando una tarjeta de lavado en el lector de tarjetas de lavado.
Al comenzar el lavado (p. ej., pulsando la tecla «Inicio» en el lector de tarjetas de lavado), la puerta de entrada se cierra.
Después de finalizar el lavado, se abre la puerta de salida y, cuando el vehículo ha salido, se vuelve a cerrar.
En caso de peligro para personas, animales u objetos, debe desconectarse de inmediato la instalación pulsando la tecla «PARADA DE EMERGENCIA».
La tecla «PARADA DE EMERGENCIA» se encuentra:
En el lector de tarjetas de lavado/códigos.
En el panel de control.
Opcionalmente, en la entrada a la nave de lavado, si el panel de control o el lector de tarjetas de lavado/código no se encuentran allí.
El Interruptor principal se encuentra en el distribuidor de alimentación.
Para conectar la instalación, coloque el interruptor principal en la posición «1».
En el interruptor de llave del distribuidor de alimentación, véase Distribuidor de alimentación, puede seleccionarse con qué paneles de control se inician los programas de lavado.
Posición 0: no se puede iniciar ningún programa
Posición 1: se pueden iniciar programas en el lector de tarjetas de lavado/códigos
Posición 2: se pueden iniciar programas en el lector de tarjetas de lavado/códigos y en el panel de control
El programa de lavado puede seleccionarse según el modelo del lector de tarjetas de lavado/códigos de la siguiente manera:
Introducción en un teclado.
Programa indicado en la tarjeta de lavado.
Introducción de un número de código.
Puede encontrar más indicaciones en el manual de instrucciones independiente del lector de tarjetas de lavado/códigos.

Los detergentes y productos de conservación se dosifican con las bombas de dosificación que se encuentran en la columna 2.
La asignación de las bombas de dosificación es un ejemplo. Normalmente, las bombas de dosificación 1-4 se asignan siempre como se muestra.
Para las bombas de dosificación 5-8 puede elegirse entre 7 detergentes y productos de conservación distintos.

Con las bombas de dosificación se dosifican los detergentes y productos de conservación del agua de lavado en función del programa de lavado y del equipamiento de la instalación.
Las cantidades de dosificación las ajusta de forma óptima el instalador durante la primera puesta en funcionamiento de la instalación. Por norma general, no es necesario volver a modificar los ajuntes.
El posicionamiento de las bombas de dosificación es específico de la instalación.
Bomba de dosificación | Detergentes y productos de conservación |
|---|---|
| Agente secador |
| Champú |
| Espuma activa |
| Cera 1 |
| Pulir 1 |
| Limpieza de llantas |
| Cera 2 |
| Brillo de neumáticos |
| Limpieza previa de insectos |
| Pulir 2 |
| Intensiv Basic |

Daños en la bomba de dosificación tras marcha en vacío
Únicamente ajuste el volumen de dosificación con la bomba de dosificación en marcha.
Tire del botón de ajuste del volumen de dosificación hacia fuera.
Accione y suelte la tecla de ventilación de forma alternante y gire el botón de ajuste al valor deseado de forma simultánea.
Suelte la tecla de ventilación.
Pulse el botón de ajuste del volumen de dosificación.
La alimentación de aire comprimido de la instalación debe estar activada.

Gire la palanca de ventilación en sentido contrario a las agujas del reloj hasta el tope.
Ajuste el volumen de dosificación al 100 %.
Pulse la tecla de ventilación repetidamente hasta que el detergente salga sin burbujas por el conducto de ventilación del lado inferior de la bomba de dosificación.
Para consultar información sobre cómo restablecer el volumen de dosificación al valor deseado, véase Ajuste del volumen de dosificación.
Gire la palanca de ventilación en el sentido de las agujas del reloj hasta el tope.

El idioma se ajusta durante la primera puesta en marcha y se puede configurar en el menú Ajustes/General
En la pantalla, se puede, p. ej., realizar ajustes en la instalación, realizar ajustes en la propia pantalla o información sobre la instalación.

En función de en qué menú se encuentre o qué estado tenga la máquina, se indican los siguientes símbolos en la pantalla.
![]() | Instalación lista para el servicio |
![]() | Instalación en estado de fallo |
![]() | Botón Home Con el botón Home puede retroceder un nivel desde un submenú. |
![]() | Derecho de acceso de usuario con sesión iniciada |
![]() | Derecho de acceso de proveedor de detergente con sesión iniciada |
![]() | Derecho de acceso de operador con sesión iniciada |
![]() | Derecho de acceso de asistencia técnica con sesión iniciada |
![]() | Programas de lavado de temporada de primavera ajustados |
![]() | Programas de lavado de temporada de verano ajustados |
![]() | Programas de lavado de temporada de otoño ajustados |
![]() | Programas de lavado de temporada de invierno ajustados |
En el menú Lavado puede seleccionar o iniciar programas y programas adicionales.
El programa en marcha se puede interrumpir y la indicación de progreso se puede mostrar mediante un valor porcentual.

Para información sobre el inicio de un programa de lavado, véase Inicio del programa en la pantalla.
En el menú de Asistencia técnica se pueden ejecutar funciones manuales y se puede iniciar el proceso de protección anticongelante.

El menú de Asistencia técnica cuenta con los siguientes submenús:
Modo servicio manual (funciones manuales del pórtico, inicio manual de protección anticongelante, funciones manuales del sistema de alimentación de agua)
Diagnóstico (solo operador y personal de asistencia técnica)
Se accede a las funciones de autocomprobación de la máquina
El menú Ajustes contiene la gestión de usuarios y se pueden realizar ajustes de la instalación

El menú de Ajustes cuenta con los siguientes submenús:
Gestión de usuarios
Ajustes de programa de lavado (velocidad del pórtico para limpieza previa, cepillos, cuidado y secado, ajustes de temporada)
Instalaciones (detergente, alimentación de agua, modo de puertas, indicación de prioridad de texto del cliente)
General (ajuste de fecha, hora y horarios de actividad, selección de idioma, visualización de información del sistema)
A través de este menú se pueden consultar evaluaciones sobre la instalación y los niveles de llenado de detergente actuales.

El menú de Información general cuenta con los siguientes submenús:
Contador de lavados (solo operador): indicación de los lavados realizados e interrumpidos
Horas servicio
Diagnóstico de mantenimiento: intervalo del siguiente mantenimiento, información del sistema, memoria de fallos, memoria de eventos
Niveles de llenado de detergente: nivel de llenado porcentual de los detergentes (opcional)
Durante el funcionamiento de la instalación pueden aparecer los siguientes mensajes de advertencia en la pantalla.

Peligro por fallos graves
Apague la instalación e informe al servicio de asistencia técnica.
Solo personas con formación para realizar tareas de asistencia técnica en la instalación deben eliminar fallos graves.
Si hay varios fallos, se muestran continuamente uno detrás de otro.
Mediante las teclas de flecha puede cambiar entre las distintas indicaciones.

Los fallos son errores que surgen durante el programa de lavado. El programa de lavado se interrumpe y se puede reanudar tras solucionar el fallo.
Si hay varios fallos, se muestran continuamente uno detrás de otro.
Mediante las teclas de flecha puede cambiar entre las distintas indicaciones.
Hay una descripción detallada sobre la subsanación de fallos en el capítulo Ayuda en caso de fallos.

Un evento es un fallo que surge sin ningún programa de lavado activo.
Si hay varios eventos, se muestran continuamente uno detrás de otro.
Mediante las teclas de flecha puede cambiar entre las distintas indicaciones.
Hay una descripción detallada sobre la subsanación de fallos en el capítulo Ayuda en caso de fallos.

Este mensaje aparece si una unidad no está en su posición básica.
Accione el botón (> de 2 segundos) o la tecla azul (> de 2 segundos) para desplazar la instalación a su posición básica.

El mensaje aparece si tiene una cita de mantenimiento pendiente.
Acuerde una cita de mantenimiento con el servicio de asistencia técnica.
Abra las válvulas de cierre de agua y aire comprimido.
Coloque el interruptor principal del distribuidor de alimentación en «1».
Accione la tecla azul Tensión de control/Ajuste básico en el panel de control.
La instalación está lista para el funcionamiento. El vehículo que se va a lavar se puede desplazar al interior.
Peligro por piezas de la instalación en movimiento
En caso de peligro para personas, animales u objetos, desconecte la instalación inmediatamente mediante el pulsador de parada de emergencia.
Peligro de daños en los vehículos por no eliminar el detergente
Si tras la aplicación de detergentes surge un fallo en la instalación de lavado, debe eliminar el detergente inmediatamente mediante la aplicación de agua para evitar posibles daños en la pintura por un tiempo de exposición demasiado prolongado.
En caso de instalaciones de autoservicio siempre debe haber accesible una persona experta y familiarizada con la instalación que puede llevar a cabo u ordenar la ejecución de las medidas necesarias evitar riesgos potenciales.
Antes de la conexión, elimine la causa para el accionamiento del pulsador de parada de emergencia.
No debe haber personas ni animales en la zona de trabajo. Hay que desplazar los vehículos fuera de la instalación.

Desbloquee el pulsador de parada de emergencia tirando de él.
Accione la tecla azul Tensión de control/Ajuste básico en el panel de control.
En el ajuste básico se ilumina la lámpara señalizadora verde superior «Avance» del semáforo de posicionamiento. La instalación vuelve a estar lista para el funcionamiento, el vehículo que se va a lavar se puede volver a desplazar al interior.
En el menú principal, seleccione Ajustes/Gestión de usuarios.
Se muestran los usuarios seleccionables.

Seleccione un usuario.
Se abre la ventana para introducir el código.

Introduzca y confirme el código.
El símbolo del usuario con la sesión iniciada se muestra en la línea superior.
El nivel de usuario se conmuta automáticamente al nivel Usuario tras 30 minutos de inactividad.
Daños en la instalación y en el vehículo
Asegúrese de que antes de arrancar la instalación se toman las siguientes medidas para evitar daños en el vehículo.
Cierre ventanas, puertas y ventanas de techo.
Recoja las antenas, pliéguelas hacia la parte trasera del vehículo o desmóntelas.
Pliegue retrovisores grandes o de largo alcance.
Compruebe si el vehículo cuenta con componentes sueltos y desmóntelos, p. ej.:
Molduras
Alerones
Parachoques
Manillas
Salidas de escape
Deflectores
Cuerdas de lonas
Gomas de obturación
Deflectores solares colocados en la parte exterior
Portaequipajes
El semáforo de posicionamiento ayuda al cliente de lavado a colocar el vehículo correctamente.

Coloque el vehículo recto en posición centrada entre las vías.
Apague el motor.
Ponga una marcha.
En caso de caja de cambios automática, seleccione la opción «P».
Ponga el freno de mano.
Compruebe si todos los avisos de Preparación del vehículo se han tenido en cuenta.
Abandone el vehículo (todas las personas).
Inicie el programa de lavado según el tipo de arranque.
El funcionamiento con un lector de tarjetas de lavado/códigos se especifica en el manual de instrucciones independiente del lector de tarjetas de lavado/códigos.
Pulse la tecla «Lavado».
Seleccione el programa de lavado deseado.
Seleccione las opciones deseadas y confirme con OK.
Inicie el programa de lavado.
Con el programa de lavado en marcha se pueden llevar a cabo las siguientes funciones manuales en la pantalla:
Bloqueo/Ascenso del secador
Bloqueo/Ascenso del cepillo para techos
Bloqueo/Desplazamiento hacia fuera del cepillo circular lateral
Detención del cepillo para lavado de ruedas
Accione la tecla «Información» para mostrar la indicación de progreso del programa.
Pulse la tecla «Parada».
El programa se interrumpe.
Accione la tecla «Inicio» para reanudar el programa.
Tras el final del programa, en el semáforo de posicionamiento se indica si el vehículo se debe desplazar hacia adelante o atrás para salir de la instalación.
Desplace el vehículo hacia fuera de la instalación.
Las funciones manuales se puede ejecutar para los siguientes módulos:
Pórtico: desplazar
Cepillo para techos: desplazar hacia arriba/abajo, conectar y desconectar
Cepillo circular lateral: desplazar hacia dentro y fuera, conectar y desconectar
Secador: desplazar hacia arriba/abajo, conectar y desconectar
Cepillo para lavado de ruedas: desplazar hacia delante y atrás, conectar y desconectar
En el menú principal, seleccione Servicio/Modo servicio manual/Pórtico manual.
Se abre el menú con las funciones manuales ejecutables.

Seleccione un módulo.
Las funciones manuales seleccionables se muestran de color amarillo.
Inicie una función manual.
Antes de que pueda seleccionar otro módulo, debe deseleccionar el módulo seleccionado.
Peligro por sustancias químicas
Tenga en cuenta las hojas de datos de seguridad de los detergentes y productos de conservación.
En la pantalla, accione los botones «Información general» y «Niveles de llenado de detergente» para visualizar los niveles de llenado, véase Información general.
La visualización de los niveles de llenado es opcional.

Enrosque el tubo de salida el bidón de rellenado.
Abra los recipientes correspondientes de detergentes o productos de conservación.
Rellene los recipientes y vuelva a cerrarlos.
Finalice el programa de lavado en marcha.
Deje el interruptor principal en «1» para que el dispositivo anticongelante opcional pueda mantenerse activado.
Finalice el programa de lavado en marcha.
Purgue el agua de todos los conductos que lleven agua si hay posibilidad de congelación durante el período de inactividad.
Coloque el interruptor principal en «0».
Cierre el conducto de agua.
Cierre el conducto de alimentación de aire comprimido.
Retire los detergentes y productos de conservación.
Daños en la instalación debido a dispositivo anticongelante no conectado
En caso de peligro de congelación, asegúrese de que el interruptor principal está activado y que no hay ningún pulsador de parada de emergencia accionado.
Si no se alcanza la temperatura mínima, se ejecutan automáticamente los siguientes pasos:
El programa de lavado en marcha ejecuta hasta el final.
Una vez finalizado el programa de lavado, se soplan las mangueras y las tuberías de boquilla con aire comprimido.
Se bloquea el arranque de otros programas de lavado.
Una vez que haya pasado el peligro de congelación, la instalación vuelve automáticamente al estado listo para el funcionamiento.
Daños en la instalación debido a temperaturas bajo cero
Ejecute el proceso de protección anticongelante de la instalación.
En las instalaciones con proceso de protección anticongelante, este se ejecuta en cuanto la temperatura baje más allá del valor ajustado previamente.

En el menú principal, seleccione Servicio/Modo servicio manual.
Accione la tecla «Protección anticongelante manual» para iniciar el proceso.
Se inicia el proceso de protección anticongelante y el tiempo restante se indica en la pantalla.

Para garantizar la seguridad operacional de la instalación, es fundamental realizar un mantenimiento periódico conforme al siguiente plan de mantenimiento.
Peligro de lesiones por movimientos de la máquina
Antes de realizar los trabajos de mantenimiento y reparación, apague la instalación.
Asegure el interruptor principal para que no pueda volver a conectarse, p. ej., con un candado.
Peligro de lesiones por depósitos y conductos de aire comprimido sometidos a presión después de apagar la instalación
Reduzca la presión antes de cualquier trabajo en la instalación.
Compruebe la ausencia de presión en el manómetro de la unidad de mantenimiento.
Peligro de lesiones por sistema de alta presión sometido a presión después de apagar la instalación
Despresurice el sistema de alta presión antes de cualquier trabajo en la instalación.
Peligro de lesiones por escape de aire comprimido, agua a alta presión en la salida de la boquilla y partículas de suciedad o similares que salen despedidas en la zona de los cepillos giratorios
Las partículas de suciedad y los objetos que se sueltan pueden lesionar a personas y animales.
El aire comprimido y el agua a alta presión pueden seguir presurizados aunque la instalación esté desconectada.
Mantenga el suelo de la nave libre de objetos sueltos tirados.
Maneje la instalación de aire comprimido o el sistema de alta presión con cuidado.
Use gafas de protección para realizar las tareas de mantenimiento.
¿Quién está autorizado para llevar a cabo trabajos de mantenimiento y reparación?
Los trabajos con la indicación «Operador» solo deben ejecutarlos personas que sepan manejar la instalación de alta presión de forma segura y mantenerlas.
Los trabajos con la indicación «Servicio de posventa» solo deben ejecutarlos los técnicos del servicio de posventa de Kärcher o técnicos autorizados por Kärcher.
Para garantizar un funcionamiento fiable de la instalación, le recomendamos un contrato de mantenimiento. Póngase en contacto con el servicio de posventa competente de KÄRCHER.
Por su seguridad y la seguridad de los demás, la instalación debe estar apagada durante los trabajos de mantenimiento. Debido a que no todas las piezas de la instalación que requieren mantenimiento están accesibles, hay que desplazar determinadas piezas de la instalación durante los trabajos de mantenimiento y reparación. El modo «Servicio manual» está previsto para estas situaciones.
El modo servicio manual se ejecuta en la pantalla.
Peligro de lesiones
Tenga en cuenta el orden de los siguientes pasos de trabajo y no lo altere.
Riesgo de daños debido al modo servicio manual
No utilice el modo servicio manual para lavar vehículos.
Desplace el vehículo hasta salir de la instalación.
Asegúrese de que no haya ninguna persona ni animal dentro de la instalación.
Conecte la instalación.
Seleccione el modo servicio manual en la pantalla.
Mueva las piezas de la instalación.
Desconecte la instalación y asegúrela para evitar su reconexión.
Ejecute los trabajos de mantenimiento y reparación.




Módulo | Tarea | Ejecución | Grupo destinatario |
|---|---|---|---|
Pulsador de parada de emergencia Interruptor de seguridad | Revisar | Iniciar el programa de lavado, accionar el pulsador de parada de emergencia o el interruptor de seguridad, la instalación debe detenerse, a continuación volver a conectarla, véase el capítulo «Conexión tras parada de emergencia». | Operador |
Letreros con instrucciones de uso y uso previsto | Compruebe los avisos para clientes de autoservicio (solo en caso de instalaciones de autoservicio) | Compruebe que los carteles estén completos y legibles. Sustituya los carteles dañados. | Operador |
Recipientes de detergentes y productos de conservación | Compruebe el nivel de llenado | Rellénelos o sustitúyalos si es necesario. | Operador |
Mangueras de alta presión desde la bomba de alta presión hasta la instalación de lavado | Revisar | Examinar las mangueras en busca de daños. Cambie de inmediato las mangueras defectuosas. Peligro de accidentes. | Operador |
Boquillas de pulverización/tamices | Compruebe si hay atascos | Comprobación visual (valoración del sistema de pulverización), límpielas si es necesario. | Operador |
Elimine la obstrucción | Atención, no intercambie las boquillas. Desenrosque las boquillas individualmente para evitar confundirlas. Límpielas con aire comprimido o colóquelas en una solución de detergente y luego límpielas con un cepillo o aguja. Atornille las boquillas nuevamente. | Operador | |
Barreras de luz | Comprobar si hay contaminación y limpiar si es necesario | Si se trata de contaminación leve, limpie las barreras de luz con un paño húmedo sin detergente aplicando una ligera presión. Para la contaminación profunda, rocíe el paño con un detergente suave. | Operador |
Interruptor final | Comprobación visual | Compruebe la presencia de daños y la correcta fijación | Operador |
Cepillos circulares laterales, cepillo para techos, cepillos de las ruedas | Compruebe si hay elementos extraños | Comprobación visual, limpie los cepillos sucios con limpiadora de alta presión. | Operador |
Circuitos de pulverización y lavado | Compruebe la alimentación de agua | En el servicio de lavado, compruebe si hay agua suficiente para el lavado de vehículos. Si no hay agua o la cantidad es insuficiente, pueden surgir daños en el vehículo. | Operador |
Semáforo de posicionamiento | Comprobación de funcionamiento | Interrumpir las barreras de luz «Posición 1» y «Posición 2», para las posiciones de las barreras de luz, véase el capítulo «Vista general de mantenimiento de la parte delantera». El semáforo de posicionamiento debe mostrar las señales correspondientes. | Operador |
Módulo | Tarea | Solución | Grupo destinatario |
|---|---|---|---|
Cilindros de cepillo para techo Cilindros de cepillos circulares laterales | Comprobación visual | Compruebe la marcha concéntrica del cilindro de cepillos. Compruebe que los cepillos están bien fijados. Compruebe que los cepillos no presentan desgaste. Longitud mínima de cerdas = estado nuevo menos 50 mm Sustituya los cepillos si fuera necesario. | Operador |
Mangueras y tuberías de la alimentación | Comprobación visual | Revise la estanqueidad. | Operador Servicio de posventa |
Bomba(s) de alta presión | Comprobar la estanqueidad | Comprobar la estanqueidad de la bomba y del sistema de tuberías. Informar al servicio posventa en caso de fuga de aceite o si hay una fuga de más de 10 gotas de agua por minuto. | Operador |
Comprobación del nivel de aceite | Nivel nominal en el medio del indicador del nivel de aceite. Dado el caso, rellenar con aceite (número de pedido 6.288-020.0) e informar al servicio posventa de inmediato. | Operador | |
Comprobar acumulador de presión | Si la vibración de la bomba de alta presión es excesiva, el acumulador de presión está defectuoso. Póngase en contacto con el servicio de posventa. | Operador Servicio de posventa | |
Depósito de agua limpia | Comprobación de la válvula de flotador | Comprobar el funcionamiento de la válvula de flotador (consultar "Trabajos de mantenimiento"). | Operador |
Panel de mando con pantalla | Limpieza/conservación | Limpie la superficie con un paño húmedo. Si está muy sucia, rocíe el paño con detergente y límpiela | Operador |
Revestimiento/cristal frontal de la instalación | Limpieza | Rocíe la superficie con un limpiador ácido y límpiela con un cepillo de esponja blando. A continuación, enjuáguela con agua limpia y retire el producto con un limpiaventanas | Operador |
Módulo | Tarea | Ejecución | Grupo destinatario |
|---|---|---|---|
Rodillos portantes de los cilindros de los cepillos circulares laterales | Comprobación visual | Compruebe la holgura mediante el movimiento de los cepillos circulares laterales. Si la holgura entre el carro y la guía es excesiva, informe al servicio de posventa. | Operador Servicio de posventa |
Tornillos y rieles guía del cepillo para techos y el secador de techos | Reapretar | Compruebe que los tornillos están bien apretados y reapriételos si es necesario Par de apriete 25 N m | Operador Servicio de posventa |
Módulo | Tarea | Solución | Grupo destinatario |
|---|---|---|---|
Unidad de mantenimiento | Limpiar el filtro | Desconecte el aire comprimido y desplazar las instalaciones de lavado para ruedas en el modo servicio manual tantas veces hacia dentro y hacia fuera hasta que se haya descargado la presión. Compruebe en el manómetro que la instalación no está bajo presión. Desatornille la carcasa del filtro, retire el acoplamiento de filtro, limpie el filtro con aire comprimido, vuelva a colocar el filtro y vuelva a atornillar la carcasa del filtro. | Operador |
Dispositivo atrapador de suciedad para agua tratada y agua fresca | Limpieza | Desconecte la entrada de agua, desenrosque la tapa del dispositivo atrapador de suciedad, retire el filtro, lave el filtro con agua, vuelva a colocar el filtro, coloque la tapa. | Operador |
Reductor de presión | Limpiar el tamiz | Consultar "Trabajos de mantenimiento". | Operador |
Cepillo para techos y secador de techos | Comprobación visual de las correas de accionamiento | Compruebe el estado de las correas de accionamiento y sustitúyalas si es necesario. | Servicio de posventa |
Todos los interruptores finales | Compruebe la fijación y la distancia | Mida la distancia entre el interruptor final y el disparador de conmutación con una galga de espesores. Si es necesario, ajuste el interruptor final mediante las dos tuercas de plástico. Distancias de los interruptores finales:
| Servicio de posventa |
Nave de lavado | Limpieza | Rocíe las superficies como el suelo, las paredes y las baldosas con un detergente ácido, déjelo actuar y limpie con un cepillo de esponja blando (blanco) | Operador |
Módulo | Tarea | Solución | Grupo destinatario |
|---|---|---|---|
Cables y mangueras de:
| Comprobación visual | Estado de las mangueras y los cables. Estanqueidad de las mangueras y los elementos de revestimiento. | Operador |
Cepillos circulares laterales, cepillo para techos, cepillos de las ruedas | Limpieza básica | Rocíe los cepillos con un detergente (detergente para limpieza previa o para limpieza de naves), déjelo actuar y enjuáguelos bien con una limpiadora de alta presión y agua caliente a 40 °C como máximo | Operador |
Módulo | Tarea | Solución | Grupo destinatario |
|---|---|---|---|
Travesaño de autoservicio | Comprobar el desgaste de la cremallera | Operador Servicio de posventa | |
Cepillos de lavado para ruedas | Comprobación visual | Sustituya los cepillos tras aprox. 15 000 lavados. Sustitución de los cepillos de lavado para ruedas: Afloje los tornillos del interior del anillo de cerdas, retire el cepillo de lavado para ruedas, coloque el nuevo cepillo de lavado para ruedas y fíjelo con los tornillos. | Operador Servicio de posventa |
Equipo de alta presión | Revisión de seguridad | Llevar a cabo una verificación de seguridad de acuerdo con las pautas establecidas para la emisión de chorros líquidos. | Servicio posventa experto |
Cerrar la entrada de agua.
Desenroscar la tapa.

Sacar el tamiz y enjuagar con agua.
Colocar el tamiz en el reductor de presión. Comprobar que las juntas estén bien colocadas.
Enroscar y apretar la tapa.
Comprobar si sale agua del orificio de rebose.

Retirar la tapa del depósito de agua limpia.
Comprobar si la válvula de flotador cierra por completo cuando el depósito está lleno de agua limpia.
Cuando la válvula de flotador está completamente cerrada, no rebosa agua de la salida.
Vuelva a colocar la tapa.
Peligro de lesiones por movimientos de la máquina
Antes de realizar los trabajos de mantenimiento y reparación, apague la instalación.
Asegure el interruptor principal para que no pueda volver a conectarse, p. ej., con un candado.
Peligro de lesiones por depósitos y conductos de aire comprimido sometidos a presión después de apagar la instalación
Reduzca la presión antes de cualquier trabajo en la instalación.
Compruebe la ausencia de presión en el manómetro de la unidad de mantenimiento.
Peligro de lesiones por sistema de alta presión sometido a presión después de apagar la instalación
Despresurice el sistema de alta presión antes de cualquier trabajo en la instalación.
¿Quién debe subsanar los fallos?
Los trabajos con la indicación «Operador» solo deben ejecutarlos personas que sepan manejar la instalación de alta presión de forma segura y mantenerlas.
Electricistas son personas con una formación personal del ámbito de la electrotecnia.
Los trabajos con la indicación «Servicio de posventa» solo deben ejecutarlos los técnicos del servicio de posventa de Kärcher o técnicos autorizados por Kärcher.
Los fallos, incluidas sus causas y posibles soluciones, se indican en forma de texto en la pantalla.

Subsane el fallo de acuerdo con la indicación y confirme con la tecla OK.
El indicador del manómetro de la bomba de alta presión vibra con fuerza.
El cepillo de lavado para ruedas no se extiende o solo muy lentamente
El cepillo de lavado para ruedas se extiende en el punto equivocado
Las tuberías de boquilla de la limpieza de bajos no giran o lo hacen demasiado rápido/lento
Efecto de limpieza insuficiente
Causa:
No hay detergente o la cantidad es insuficiente
Causa:
No hay presión de aire en los conductos de alimentación o la cantidad es insuficiente
Causa:
Cepillos desgastados
Solución:
Operador
Compruebe el nivel de llenado de detergente y, si es necesario, rellene detergente y purgue la bomba de dosificación.
Compruebe la presión de aire y ajústela si es necesario (0,6 MPA [6 bar] en el manómetro de la unidad de mantenimiento).
Limpie el filtro de aspiración de detergente y compruebe la presencia de daños en los conductos de detergente.
Compruebe y, en caso necesario, cambie los cepillos.
La bomba de alta presión no alcanza la presión
Causa:
Sistema de tuberías del lado de aspiración no estanco
Causa:
Falta de agua
Solución:
Operador, servicio de posventa
Comprobar las atornilladuras y las mangueras.
Solucionar la falta de agua.
El indicador del manómetro de la bomba de alta presión vibra con fuerza.
Causa:
La bomba aspira aire
Causa:
Acumulador de presión defectuoso
Solución:
Servicio de posventa
Comprobar el tubo de aspiración.
Sustituir el acumulador de presión.
La válvula de seguridad de la bomba de alta presión se abre
Causa:
Boquillas de la instalación de lavado obstruidas
Solución:
Operador
Comprobar, limpiar y sustituir las toberas.
Causa:
Manguera o válvulas de alta presión obstruidas
Solución:
Servicio de posventa
Eliminar la obstrucción.
No sale agua de las boquillas o la cantidad es insuficiente
Causa:
Dispositivo atrapador de suciedad atascado
Causa:
Presión del agua insuficiente
Causa:
Boquillas obstruidas
Causa:
Aire en la bomba centrífuga
Causa:
Válvula magnética o conductos de alimentación obstruidos
Solución:
Operador
Limpie el dispositivo atrapador de suciedad
Compruebe la presión de entrada de agua y las bombas
Limpie las boquillas con aire comprimido
Purgar la bomba centrífuga aflojando el tornillo de purga
Compruebe las válvulas magnéticas y los conductos de alimentación (agua y corriente) y repárelas si es necesario
Tras el lavado sigue saliendo agua de las boquillas
Causa:
Válvula magnética sucia
Solución:
Servicio de posventa
Limpie las válvulas magnéticas
Secado insuficiente
Causa:
Agente secador excesivo o insuficiente
Causa:
Agente secador erróneo
Causa:
No hay presión de aire o es insuficiente
Solución:
Operador
Aumente o reduzca la dosis
Compruebe el nivel de llenado de los detergentes.
Limpie el filtro de aspiración
Purgue la bomba de dosificación
Utilice agentes secadores originales de Kärcher
Compruebe el funcionamiento del ventilador de secado
El cepillo de lavado para ruedas no gira
Causa:
El guardamotores del armario eléctrico se ha activado
Causa:
Presión de empuje excesiva
Solución:
Operador
Compruebe el guardamotores del armario eléctrico
Reduzca la presión de empuje en el reductor de presión para lavado de ruedas
El cepillo de lavado para ruedas no se extiende o solo muy lentamente
Causa:
No hay presión de aire o es insuficiente
Solución:
Operador, servicio de posventa
Compruebe la presión de aire y ajústela en caso necesario.
Aumente la presión de empuje en el reductor de presión para lavado de ruedas
El cepillo de lavado para ruedas se extiende en el punto equivocado
Causa:
Barreras de luz sucias
Solución:
Operador
Limpie las barreras de luz y compruebe el ajuste si es necesario
Los cepillos se ensucian muy rápido
Causa:
La dosis de champú es insuficiente
Solución:
Operador
Ajuste de la dosificación del champú
Compruebe la cantidad de agua y ajústela en caso necesario.
Las tuberías de boquilla de la limpieza de bajos no giran o lo hacen demasiado rápido/lento
Causa:
No hay presión de aire o es insuficiente
Causa:
La unidad de giro está muy sucia
Causa:
Las válvulas estranguladoras están mal ajustadas
Solución:
Operador, servicio de posventa
Compruebe la presión de aire en el conducto de alimentación y ajústelo si es necesario.
Limpie la unidad de giro
Reajuste la válvula estranguladora
La instalación no se enciende
Causa:
Fallo en la alimentación de tensión
Solución:
Operador, electricista
Garantice una alimentación de tensión sin fallos de conformidad con los valores de conexión
Indicación | Código de parpadeo | Causa | Solución |
|---|---|---|---|
![]() | Parpadeo alternante | Modo servicio manual activo | Mensaje |
![]() | Encendido | Lavado en proceso | Mensaje |
![]() | Encendido | Lavado interrumpido | Mensaje |
![]() | Parpadeo alternante | Fallo activo | Elimine el fallo |
![]() | Parpadeo rápido | Parada de emergencia activa | Determine la causa y desbloquee la parada de emergencia |
![]() | Encendido | Avanzar la posición | Avanzar el vehículo |
![]() | Encendido | Detener el posicionamiento | Detener el vehículo |
![]() | Encendido | Retroceder posicionamiento | Retroceder el vehículo |
![]() | Parpadeo | Lavado finalizado | Retirar el vehículo hacia delante |
![]() | Parpadeo | Lavado finalizado | Retirar el vehículo hacia atrás |
El indicador del manómetro de la bomba de alta presión vibra con fuerza.
El cepillo de lavado para ruedas no se extiende o solo muy lentamente
El cepillo de lavado para ruedas se extiende en el punto equivocado
Las tuberías de boquilla de la limpieza de bajos no giran o lo hacen demasiado rápido/lento
Efecto de limpieza insuficiente
Causa:
No hay detergente o la cantidad es insuficiente
Causa:
No hay presión de aire en los conductos de alimentación o la cantidad es insuficiente
Causa:
Cepillos desgastados
Solución:
Operador
Compruebe el nivel de llenado de detergente y, si es necesario, rellene detergente y purgue la bomba de dosificación.
Compruebe la presión de aire y ajústela si es necesario (0,6 MPA [6 bar] en el manómetro de la unidad de mantenimiento).
Limpie el filtro de aspiración de detergente y compruebe la presencia de daños en los conductos de detergente.
Compruebe y, en caso necesario, cambie los cepillos.
La bomba de alta presión no alcanza la presión
Causa:
Sistema de tuberías del lado de aspiración no estanco
Causa:
Falta de agua
Solución:
Operador, servicio de posventa
Comprobar las atornilladuras y las mangueras.
Solucionar la falta de agua.
El indicador del manómetro de la bomba de alta presión vibra con fuerza.
Causa:
La bomba aspira aire
Causa:
Acumulador de presión defectuoso
Solución:
Servicio de posventa
Comprobar el tubo de aspiración.
Sustituir el acumulador de presión.
La válvula de seguridad de la bomba de alta presión se abre
Causa:
Boquillas de la instalación de lavado obstruidas
Solución:
Operador
Comprobar, limpiar y sustituir las toberas.
Causa:
Manguera o válvulas de alta presión obstruidas
Solución:
Servicio de posventa
Eliminar la obstrucción.
No sale agua de las boquillas o la cantidad es insuficiente
Causa:
Dispositivo atrapador de suciedad atascado
Causa:
Presión del agua insuficiente
Causa:
Boquillas obstruidas
Causa:
Aire en la bomba centrífuga
Causa:
Válvula magnética o conductos de alimentación obstruidos
Solución:
Operador
Limpie el dispositivo atrapador de suciedad
Compruebe la presión de entrada de agua y las bombas
Limpie las boquillas con aire comprimido
Purgar la bomba centrífuga aflojando el tornillo de purga
Compruebe las válvulas magnéticas y los conductos de alimentación (agua y corriente) y repárelas si es necesario
Tras el lavado sigue saliendo agua de las boquillas
Causa:
Válvula magnética sucia
Solución:
Servicio de posventa
Limpie las válvulas magnéticas
Secado insuficiente
Causa:
Agente secador excesivo o insuficiente
Causa:
Agente secador erróneo
Causa:
No hay presión de aire o es insuficiente
Solución:
Operador
Aumente o reduzca la dosis
Compruebe el nivel de llenado de los detergentes.
Limpie el filtro de aspiración
Purgue la bomba de dosificación
Utilice agentes secadores originales de Kärcher
Compruebe el funcionamiento del ventilador de secado
El cepillo de lavado para ruedas no gira
Causa:
El guardamotores del armario eléctrico se ha activado
Causa:
Presión de empuje excesiva
Solución:
Operador
Compruebe el guardamotores del armario eléctrico
Reduzca la presión de empuje en el reductor de presión para lavado de ruedas
El cepillo de lavado para ruedas no se extiende o solo muy lentamente
Causa:
No hay presión de aire o es insuficiente
Solución:
Operador, servicio de posventa
Compruebe la presión de aire y ajústela en caso necesario.
Aumente la presión de empuje en el reductor de presión para lavado de ruedas
El cepillo de lavado para ruedas se extiende en el punto equivocado
Causa:
Barreras de luz sucias
Solución:
Operador
Limpie las barreras de luz y compruebe el ajuste si es necesario
Los cepillos se ensucian muy rápido
Causa:
La dosis de champú es insuficiente
Solución:
Operador
Ajuste de la dosificación del champú
Compruebe la cantidad de agua y ajústela en caso necesario.
Las tuberías de boquilla de la limpieza de bajos no giran o lo hacen demasiado rápido/lento
Causa:
No hay presión de aire o es insuficiente
Causa:
La unidad de giro está muy sucia
Causa:
Las válvulas estranguladoras están mal ajustadas
Solución:
Operador, servicio de posventa
Compruebe la presión de aire en el conducto de alimentación y ajústelo si es necesario.
Limpie la unidad de giro
Reajuste la válvula estranguladora
La instalación no se enciende
Causa:
Fallo en la alimentación de tensión
Solución:
Operador, electricista
Garantice una alimentación de tensión sin fallos de conformidad con los valores de conexión
El indicador del manómetro de la bomba de alta presión vibra con fuerza.
El cepillo de lavado para ruedas no se extiende o solo muy lentamente
El cepillo de lavado para ruedas se extiende en el punto equivocado
Las tuberías de boquilla de la limpieza de bajos no giran o lo hacen demasiado rápido/lento
Efecto de limpieza insuficiente
Causa:
No hay detergente o la cantidad es insuficiente
Causa:
No hay presión de aire en los conductos de alimentación o la cantidad es insuficiente
Causa:
Cepillos desgastados
Solución:
Operador
Compruebe el nivel de llenado de detergente y, si es necesario, rellene detergente y purgue la bomba de dosificación.
Compruebe la presión de aire y ajústela si es necesario (0,6 MPA [6 bar] en el manómetro de la unidad de mantenimiento).
Limpie el filtro de aspiración de detergente y compruebe la presencia de daños en los conductos de detergente.
Compruebe y, en caso necesario, cambie los cepillos.
La bomba de alta presión no alcanza la presión
Causa:
Sistema de tuberías del lado de aspiración no estanco
Causa:
Falta de agua
Solución:
Operador, servicio de posventa
Comprobar las atornilladuras y las mangueras.
Solucionar la falta de agua.
El indicador del manómetro de la bomba de alta presión vibra con fuerza.
Causa:
La bomba aspira aire
Causa:
Acumulador de presión defectuoso
Solución:
Servicio de posventa
Comprobar el tubo de aspiración.
Sustituir el acumulador de presión.
La válvula de seguridad de la bomba de alta presión se abre
Causa:
Boquillas de la instalación de lavado obstruidas
Solución:
Operador
Comprobar, limpiar y sustituir las toberas.
Causa:
Manguera o válvulas de alta presión obstruidas
Solución:
Servicio de posventa
Eliminar la obstrucción.
No sale agua de las boquillas o la cantidad es insuficiente
Causa:
Dispositivo atrapador de suciedad atascado
Causa:
Presión del agua insuficiente
Causa:
Boquillas obstruidas
Causa:
Aire en la bomba centrífuga
Causa:
Válvula magnética o conductos de alimentación obstruidos
Solución:
Operador
Limpie el dispositivo atrapador de suciedad
Compruebe la presión de entrada de agua y las bombas
Limpie las boquillas con aire comprimido
Purgar la bomba centrífuga aflojando el tornillo de purga
Compruebe las válvulas magnéticas y los conductos de alimentación (agua y corriente) y repárelas si es necesario
Tras el lavado sigue saliendo agua de las boquillas
Causa:
Válvula magnética sucia
Solución:
Servicio de posventa
Limpie las válvulas magnéticas
Secado insuficiente
Causa:
Agente secador excesivo o insuficiente
Causa:
Agente secador erróneo
Causa:
No hay presión de aire o es insuficiente
Solución:
Operador
Aumente o reduzca la dosis
Compruebe el nivel de llenado de los detergentes.
Limpie el filtro de aspiración
Purgue la bomba de dosificación
Utilice agentes secadores originales de Kärcher
Compruebe el funcionamiento del ventilador de secado
El cepillo de lavado para ruedas no gira
Causa:
El guardamotores del armario eléctrico se ha activado
Causa:
Presión de empuje excesiva
Solución:
Operador
Compruebe el guardamotores del armario eléctrico
Reduzca la presión de empuje en el reductor de presión para lavado de ruedas
El cepillo de lavado para ruedas no se extiende o solo muy lentamente
Causa:
No hay presión de aire o es insuficiente
Solución:
Operador, servicio de posventa
Compruebe la presión de aire y ajústela en caso necesario.
Aumente la presión de empuje en el reductor de presión para lavado de ruedas
El cepillo de lavado para ruedas se extiende en el punto equivocado
Causa:
Barreras de luz sucias
Solución:
Operador
Limpie las barreras de luz y compruebe el ajuste si es necesario
Los cepillos se ensucian muy rápido
Causa:
La dosis de champú es insuficiente
Solución:
Operador
Ajuste de la dosificación del champú
Compruebe la cantidad de agua y ajústela en caso necesario.
Las tuberías de boquilla de la limpieza de bajos no giran o lo hacen demasiado rápido/lento
Causa:
No hay presión de aire o es insuficiente
Causa:
La unidad de giro está muy sucia
Causa:
Las válvulas estranguladoras están mal ajustadas
Solución:
Operador, servicio de posventa
Compruebe la presión de aire en el conducto de alimentación y ajústelo si es necesario.
Limpie la unidad de giro
Reajuste la válvula estranguladora
La instalación no se enciende
Causa:
Fallo en la alimentación de tensión
Solución:
Operador, electricista
Garantice una alimentación de tensión sin fallos de conformidad con los valores de conexión
Afloje el tornillo de ventilación.

Si sale agua, vuelva a enroscar el tornillo de ventilación.
En cada país se aplican las condiciones de garantía indicadas por nuestra compañía distribuidora autorizada. Subsanamos cualquier fallo en su equipo de forma gratuita dentro del plazo de garantía siempre que la causa se deba a un fallo de fabricación o material. En caso de garantía, póngase en contacto con su distribuidor o con el servicio de posventa autorizado más próximo presentando la factura de compra.
Encontrará más información en: www.kaercher.com/dealersearch
Dimensiones de la instalación | |
Altura de lavado | 2100, 2200, 2300 mm |
Altura del marco | 2900 mm |
Altura total | 2930, 3030, 3130 mm |
Anchura del marco | 3500 mm |
Anchura total de los cepillos laterales | 4040 mm |
Anchura total de la protección contra salpicaduras | 4060 mm |
Profundidad del marco/profundidad con cepillos giratorios | 1600 / 2170 mm |
Longitud total de la nave corta | 2070 mm |
Anchura de la instalación a la altura del espejo | 2450 mm |
Anchura de la instalación en la zona de lavado de ruedas | 2100 mm |
Anchura de las vías | 2550, 2700, 2800 mm |
Anchura de la nave con distancia de seguridad | 4500 mm |
Cepillos de lavado | |
Diámetro de los cepillos laterales | 975 mm |
Velocidad de rotación de los cepillos laterales | 107 1/min |
Diámetro de los cepillos para techos | 975 mm |
Velocidad de rotación de los cepillos para techos | 127 1/min |
Velocidad del pórtico | 0 - 24 m/min |
Conexión eléctrica | |
Tensión de red | 400 V |
Frecuencia | 50 Hz |
Potencia conectada | 10-16 kW |
Fusible previo máx. del control | 35-50 A |
Conexión de agua | |
Ancho nominal | 1 Pulgada |
Presión del caudal según DIN 1988 (a 100 l/min) | 0,4 - 0,6 MPa |
Temperatura máx. | 50 °C |
Conexión de aire comprimido | |
Ancho nominal | 1/2 Pulgada |
Presión | 0,6 - 0,8 MPa |
Consumo/lavado (sin dispositivo anticongelante, dependiendo del programa con un vehículo de 4,5 m de largo) | 50 l |
Consumo con protección anticongelante, aprox. | 700 l |
Valores calculados conforme a EN 60335-2-79 | |
Nivel acústico lavado con secado | 87 dB(A) |
Nivel acústico solo modo secador | 91 dB(A) |
Módulo de alta presión de nivel sonoro | 86 dB(A) |
Intensidad acústica lavado con secado | 101 dB(A) |
Intensidad acústica solo modo secador | 105 dB(A) |
Intensidad acústica módulo de alta presión | 101 dB(A) |
Inseguridad | 3 dB(A) |
Dimensiones de la instalación | |
Altura de lavado | 2400, 2500, 2600 mm |
Altura del marco | 3200 mm |
Altura total | 3230, 3330, 3430 mm |
Anchura del marco | 3500 mm |
Anchura total de los cepillos laterales | 4040 mm |
Anchura total de la protección contra salpicaduras | 4060 mm |
Profundidad del marco/profundidad con cepillos giratorios | 1600 / 2170 mm |
Longitud total de la nave corta | 2070 mm |
Anchura de la instalación a la altura del espejo | 2450 mm |
Anchura de la instalación en la zona de lavado de ruedas | 2100 mm |
Anchura de las vías | 2550, 2700, 2800 mm |
Anchura de la nave con distancia de seguridad | 4500 mm |
Cepillos de lavado | |
Diámetro de los cepillos laterales | 975 mm |
Velocidad de rotación de los cepillos laterales | 107 1/min |
Diámetro de los cepillos para techos | 975 mm |
Velocidad de rotación de los cepillos para techos | 127 1/min |
Velocidad del pórtico | 0 - 24 m/min |
Conexión eléctrica | |
Tensión de red | 400 V |
Frecuencia | 50 Hz |
Potencia conectada | 10-16 kW |
Fusible previo máx. del control | 35-50 A |
Conexión de agua | |
Ancho nominal | 1 Pulgada |
Presión del caudal según DIN 1988 (a 100 l/min) | 0,4 - 0,6 MPa |
Temperatura máx. | 50 °C |
Conexión de aire comprimido | |
Ancho nominal | 1/2 Pulgada |
Presión | 0,6 - 0,8 MPa |
Consumo/lavado (sin dispositivo anticongelante, dependiendo del programa con un vehículo de 4,5 m de largo) | 50 l |
Consumo con protección anticongelante, aprox. | 700 l |
Valores calculados conforme a EN 60335-2-79 | |
Nivel acústico lavado con secado | 87 dB(A) |
Nivel acústico solo modo secador | 91 dB(A) |
Módulo de alta presión de nivel sonoro | 86 dB(A) |
Intensidad acústica lavado con secado | 101 dB(A) |
Intensidad acústica solo modo secador | 105 dB(A) |
Intensidad acústica módulo de alta presión | 101 dB(A) |
Inseguridad | 3 dB(A) |
Dimensiones de la instalación | |
Altura de lavado | 2700, 2800, 2900 mm |
Altura del marco | 3500 mm |
Altura total | 3530, 3630, 3730 mm |
Anchura del marco | 3500 mm |
Anchura total de los cepillos laterales | 4040 mm |
Anchura total de la protección contra salpicaduras | 4060 mm |
Profundidad del marco/profundidad con cepillos giratorios | 1600 / 2170 mm |
Longitud total de la nave corta | 2070 mm |
Anchura de la instalación a la altura del espejo | 2450 mm |
Anchura de la instalación en la zona de lavado de ruedas | 2100 mm |
Anchura de las vías | 2550, 2700, 2800 mm |
Anchura de la nave con distancia de seguridad | 4500 mm |
Cepillos de lavado | |
Diámetro de los cepillos laterales | 975 mm |
Velocidad de rotación de los cepillos laterales | 107 1/min |
Diámetro de los cepillos para techos | 975 mm |
Velocidad de rotación de los cepillos para techos | 127 1/min |
Velocidad del pórtico | 0 - 24 m/min |
Conexión eléctrica | |
Tensión de red | 400 V |
Frecuencia | 50 Hz |
Potencia conectada | 10-16 kW |
Fusible previo máx. del control | 35-50 A |
Conexión de agua | |
Ancho nominal | 1 Pulgada |
Presión del caudal según DIN 1988 (a 100 l/min) | 0,4 - 0,6 MPa |
Temperatura máx. | 50 °C |
Conexión de aire comprimido | |
Ancho nominal | 1/2 Pulgada |
Presión | 0,6 - 0,8 MPa |
Consumo/lavado (sin dispositivo anticongelante, dependiendo del programa con un vehículo de 4,5 m de largo) | 50 l |
Consumo con protección anticongelante, aprox. | 700 l |
Valores calculados conforme a EN 60335-2-79 | |
Nivel acústico lavado con secado | 87 dB(A) |
Nivel acústico solo modo secador | 91 dB(A) |
Módulo de alta presión de nivel sonoro | 86 dB(A) |
Intensidad acústica lavado con secado | 101 dB(A) |
Intensidad acústica solo modo secador | 105 dB(A) |
Intensidad acústica módulo de alta presión | 101 dB(A) |
Inseguridad | 3 dB(A) |
El consumo de agua depende de la longitud del vehículo, el equipamiento de la instalación y el programa de lavado.
Los valores indicados son ejemplos para el consumo por cada lavado de vehículo.
Condiciones marco:
Longitud de vehículo 4,5 m
Por la presente declaramos que la máquina designada a continuación cumple, en lo que respecta a su diseño y tipo constructivo así como a la versión puesta a la venta por nosotros, las normas básicas de seguridad y sobre la salud que figuran en las directivas comunitarias correspondientes. Si se producen modificaciones no acordadas en la máquina, esta declaración pierde su validez.
Producto: Instalación de lavado
Tipo: 1534-xxx
Directivas UE aplicables2006/42/CE (+2009/127/CE)
2014/30/UE
2009/125/CE + 2009/1781
Normas armonizadas aplicadasEN ISO 12100
EN 17281
EN 60204-1
EN 61000-6-2: 2005 + AC: 2005
EN 61000-6-4: 2007 + A1: 2001
Los abajo firmantes actúan en nombre y con la autorización de la junta directiva.

Responsable de documentación:
S. Reiser
Alfred Kärcher SE & Co. KG
Alfred-Kärcher-Str. 28 - 40
71364 Winnenden (Germany)
Tel.: +49 7195 14-0
Fax: +49 7195 14-2212
Winnenden, 01/11/2022